This is a cache of https://www.owenscorning.com/en-us/roofing/install-instructions/pinkwrap. It is a snapshot of the page as it appeared on 2026-02-06T01:33:01.796+0000.
PINKWRAP® WEATHER RESISTANT BARRIERS INSTALLATION INSTRUCTIONS | Owens Corning Roofing | Owens Corning Roofing
Skip to main content
Contractor wearing a yellow ball cap stapling PINKWRAP® Premium air barrier to exterior structure.

PINKWRAP® WEATHER RESISTANT BARRIERS

Installation Instructions

Applicable Products

Weather Resistant Barriers

  • PINKWRAP® Premium Air Barrier
  • PINKWRAP® Classic Weather Barrier

Accessories

  • PINKWRAP® Seam Tape

Weather resistant barriers

standard size (FT)

Rolls per pallet

permeability
(ASTM E-96A)

UV Exposure

Warranty

PINKWRAP® Premium Air Barrier

3X75

9x100

9x150

10x150

80

60

48

48

15 US PERMS

180 Days

10 Years

PINKWRAP® Classic Weather Barrier

9x100

9x150

10x150

42

48

48

15 US PERMS

90 Days

10 Years

accessories

Standard size

rolls per case

total thickness

uv exposure

warranty

PINKWRAP® Seam Tape

1.88 IN x 165 FT

24

3 MIL

N/A

10 Years

Approvals & Reports

ACCEPTABLE CODES & STANDARDS

PINKWRAP® Premium Air Barrier and Classic Weather Barrier

ASTM E96 Procedure B

(PERMS) 15

ASTM D779

Type II

ASTM D5034

Pass

ASTM E84

Class A

ASTM E2556

Pass

ICC -ES AC38

Pass

ASTM E 2178

Pass - PREMIUM ONLY

Report Document

Report Document PRI ER 1378E07

Always follow local applicable building codes.

Usage & Limitations

PINKWRAP® Premium Air Barrier & PINKWRAP® Classic Weather Barrier are designed for residential and light commercial construction applications less than 4 stories high.

PINKWRAP® Weather Resistant Barriers can be installed over:

  • Wood-based Sheathing
  • Foam board
  • Fiberboard Sheathing

Approved Exterior Cladding:

  • Vinyl
  • Fiber Cement
  • Wood
  • Metal
  • Brick*
  • Stucco*
  • Stone Veneers*
*See special considerations section for these exterior cladding options

Approved Fasteners:

  • Plastic cap nails
  • Plastic cap staples

Vertical Wall Installation

STEP 1.

Begin by ensuring the printed side of the PINKWRAP® Weather Resistant Barrier (WRB) is facing outward. Start 2-3 feet from a bottom corner of the building (Fig. 1). The bottom end of the roll is required to extend over the sill plate by at least 2 inches. Fasten the WRB using approved fasteners every 32 inches vertically.

For ease of installation, PINKWRAP® has target markers every 16 inches in the field, and has a 6-inch lap line.

Diagram showing roll of air barrier product facing outward and being unrolled to the left.

STEP 2.

Unroll the WRB around the entire building, including any window and door openings. Keeping WRB taunt use approved fasteners to secure every 32 inches on center both vertically and horizontally. Continue this process until the building is completed, with upper courses going over lower courses in a shiplap fashion. Vertical and horizontal overlaps should be at least 6 inches. Fig. 2.

Diagram showing rolled product being unrolled horizontally to the right 6 inches overlapping

STEP 3.

In new construction applications, the bottom 12 inches of WRB can remain unfastened to allow for integration of through-wall flashing. The bottom seam must be sealed prior to installation of exterior cladding if the WRB is intended to be the primary air barrier material for the wall assembly.

STEP 4.

Do not place fasteners closer than 6 inches of sills and jambs or within 9 inches of head of window rough openings.

STEP 5.

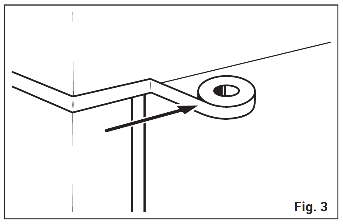
Tape all vertical seams using PINKWRAP® Seam Tape or equivalent. Taping horizontal seams is recommended but not required unless the WRB is intended to be used as an air barrier. Fig. 3.

Diagram showing seam tape being applied to horizontal seam

STEP 6.

For air barrier solutions, all seams need to be taped using PINKWRAP® Seam tape or equivalent. All other penetrations and terminations will need to be taped or sealed as well. Fig. 3.

Diagram showing seam tape being applied to horizontal seam

Special Considerations

STEP 7A. 
Window Rough Opening Installation

At the window opening, cut an inverted Y in the WRB material. At the top corners of the opening, make a diagonal 4–6-inch cut. Fold the side and bottom flaps into the opening and fasten to the studs. Fig. 4 & Fig. 5.

Diagram showing a Y cut being made to the window opening of the air barrier product
Diagram showing flaps being folded into the window opening

STEP 7B.
Existing window installation

Carefully trim the WRB to be close to the window flange on either side of the window. Secure the WRB with PINKWRAP® Seam Tape or equivalent, prior to installing siding flashing. At the top of the window, the WRB should be cut to create a flap. Install head flashing over the flange, and then place WRB over the top of the flashing, and tape over the seam. Leave bottom of window unflashed. Fig. 6.

Diagram showing weather resistant barrier being trimmed around the window flange.

Other PENETRATIOnS

STEP 8A.
Square Penetrations

Apply flashing tape to the bottom of the penetration, ensuring to go at least 2 inches beyond the penetration and securing to PINKWRAP® WRB. Again, ensuring to go at least 2 inches beyond the penetration and securing to PINKWRAP® WRB. Fig. 7A.

STEP 8B.
SQUARE PENETRATIONS

Apply flashing tape to each side and then the top of the penetration, again ensuring to go at least 2 inches beyond the penetration and securing the tape to PINKWRAP® WRB. Fig. 7B.

Diagram showing flashing tape being applied to square penetrations of the weather resistant barrier.

STEP 9A.
ROUND Penetrations

Make two 45 degree cuts at the top of the round penetration and peel back the PINKWRAP® WRB. Fig. 8A.

STEP 9B.
ROUND PENETRATIONS

Apply flashing tape to the underside of the penetration, and then the top section. Fig. 8B.

STEP 9C.

ROUND PENETRATIONS

Replace the WRB flap, over the flashing tape. Use PINKWRAP® Seam Tape or equivalent to go across the top of the flashing and extending by 2 inches on either side of the penetration. Tape over the two angled cuts using seam tape or equivalent. Fig. 8.

Diagram showing 45 degree cuts and flashing tape being applied to round penetrations of the weather resistant barrier.

Cementious Cladding

PINKWRAP® Premium Air Barrier qualifies as Class D Type II. PINKWRAP® Classic Weather Barrier qualifies as a Class D Type I.

Refer to applicable building codes and cladding MFG instructions when using cementitious cladding.

Repairs & Patchwork

During installation of PINKWRAP® WRBs, rips, tears, or holes could become present. These should be covered with PINKWRAP® Seam Tape or equivalent. Holes or tears larger than 1 inch should be patched. To do this make a horizontal cut into the housewrap at least 2 inches above the hole and extending at least 2 inches on either side of the hole. Measure and cut an additional piece of PINKWRAP® WRB that will be large enough to cover the hole. Tuck the new PINKWRAP® patch into the hole or tear to ensure proper shingling of layers. Fasten the patch in place by using approved fasteners, then tape along the perimeter of the patch starting with the bottom and finishing with taping over the top where the hole or tear was made. Fig. 9.

Diagram showing the cutting of the weather resistant barrier product two inches above the hole, and new patch of product is applied and tape using flashing tape.